
▲南韓宣布戒嚴,瞬間成為熱搜關鍵字。(圖/翻攝Google)
記者柯振中/綜合報導
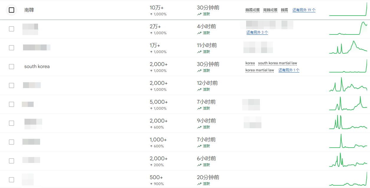
南韓總統尹錫悅3日宣布,國家進入緊急戒嚴狀態,引起全球關注,「南韓」、「戒嚴」、「韓國戒嚴」等詞語更是瞬間成為熱搜關鍵字。不過,目前南韓戒嚴狀況未明,細節仍待進一步宣布。
尹錫悅3日在全國演講中宣布,國家進入戒嚴狀態,並且指責反對派控制議會、同情北韓,還透過反國家活動癱瘓政府。宣布戒嚴以後,引起南韓民眾震驚,在網路上掀起討論熱潮。
此外,目前Google熱搜關鍵字當中,「南韓」、「韓國戒嚴」、「南韓戒嚴」及「韓國」、「south korea」、「Martial law(戒嚴)」、「korea martial law」、「south korea martial law」等關鍵字瞬間衝上第一名。不過尹錫悅政府尚未宣布戒嚴的具體措施,詳情仍待釐清。
讀者迴響