記者洪聖壹/台北報導
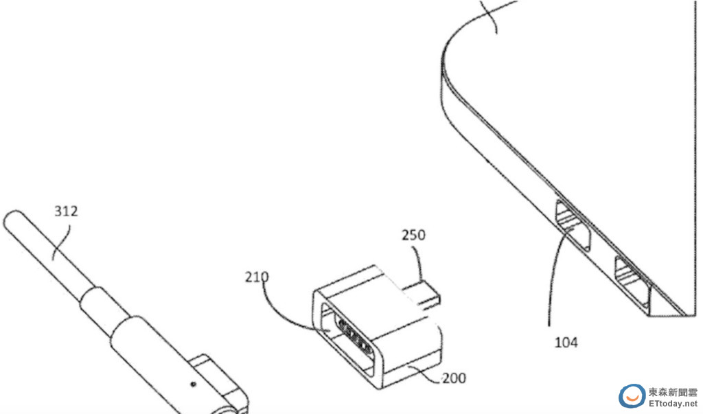
Apple 公司自 2016 年開始,便持續針對 Macbook 系列導入 USB-C 傳輸設計,雖然替電腦帶來更好的效率,但也因現有技術仍待橋接,而在市場上受到挑戰,Apple 公司也因此開發出許多橋接配件,如今似乎針對充電解決方案,更進一步釋出MagSafe插頭專用的轉接頭。

Mashable 報導,Apple 公司已被通過一項 MagSafe-to-USB-C 轉接器的專利,也就是說,消費者既有的 Macbook 轉接器未來將可望透過這樣的轉接頭,來為新一代 Macbook 充電。不過目前這樣的轉接頭狀況為何?以及相關的上市情報,目前還是未知,《ETtoay東森新聞雲》將會進行追蹤報導。
[廣告] 請繼續往下閱讀.